Collection: C-355 Concrete Saw Parts By Norton Clipper
-
Sold out
-
-
-
-
-
-
-
-
-
-
-
-
-
-
-
-
-
-
-
-
-
-
-
-
-
-
-
-
-
-
-
-
-
-
-
View More
C-355 Concrete Saw Parts
Norton Clipper specializes in cutting and drilling applications on concrete, masonry, and tile. Norton has a fleet of different models applicable for a number of different construction job sites.
The broad categories of Norton Clipper equipment line include -
High-Speed Saws
Masonry Saws
Tile Saws
Core Drills
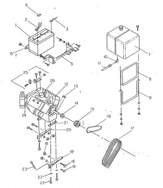
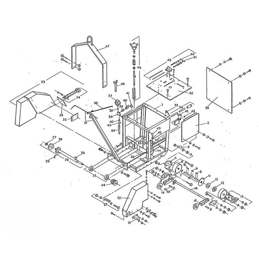
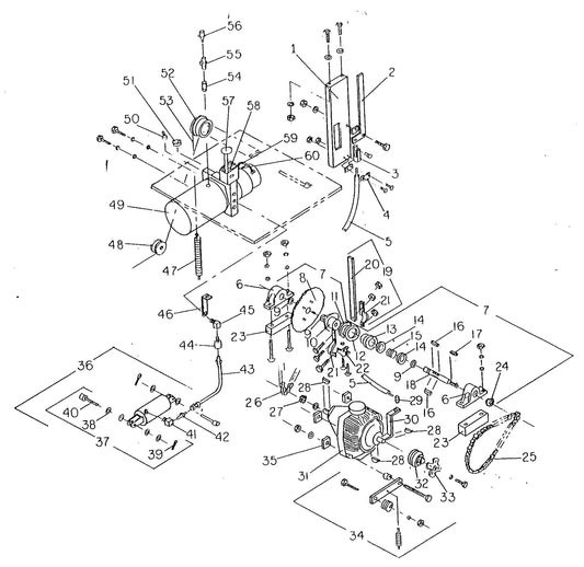
It is highly recommended that you only use only genuine Norton Clipper saw and core drill parts for repairing your concrete saw and core drill parts. Order from an authorized dealer, genuine parts for your equipment at the best prices. Select the correct parts from our detailed parts diagrams for Norton Clipper equipment.